Franke Sirius 2 S2D 110.16 πλαστικό μικρό λευκό νεροχύτη 16x41cm υποκατασκευή 125.0252.233

Αριθμός Είδους 1156276282
Franke Sirius 2 S2D 110.16 πλαστικό μικρό λευκό νεροχύτη 16x41cm υποκατασκευή 125.0252.233
€ 158,41 € 234,68 συμπ. 24% ΦΠΑ
Έξοδα αποστολής € 15,00
Παραγγελία σήμερα, Παράδοση 20-05-2026
Μάρκα
Σειρά

Νεροχύτης Διάστασης Κάδου Παραλλαγές

214.000+ ικανοποιημένοι πελάτες
Δωρεάν παράδοση από € 350
Εύκολες επιστροφές εντός 30 ημερών
Φιλικές προς το περιβάλλον επιλογές παράδοσης
Χρωματικά Σταθερό
<span>Ανθεκτικό στη θερμότητα</span>
<html> <body> <p>Υψηλή αντοχή σε κρούσεις</p> </body> </html>
<span>Ανθεκτικό σε βρωμιά και λεκέδες</span>
<p>Αντοχή σε λεκέδες και αλλοίωση χρώματος</p>
<p>Ανθεκτικό σε γρατζουνιές</p>
Αντέχει σε θερμικά κλονισμάτα
<p>Ποιότητα από την ΕΕ</p>
Όλα για αυτό το προϊόν
Πληροφορίες Προϊόντος
Το Franke Sirius 2 S2D 110.16 είναι ένα μικρό λευκό νεροχύτη από πλαστικό, ιδανικό για εγκατάσταση κάτω από ντουλάπι. Με ελάχιστο μέγεθος ντουλαπιού 30 cm, αυτός ο νεροχύτης ταιριάζει εύκολα σε κάθε κουζίνα.

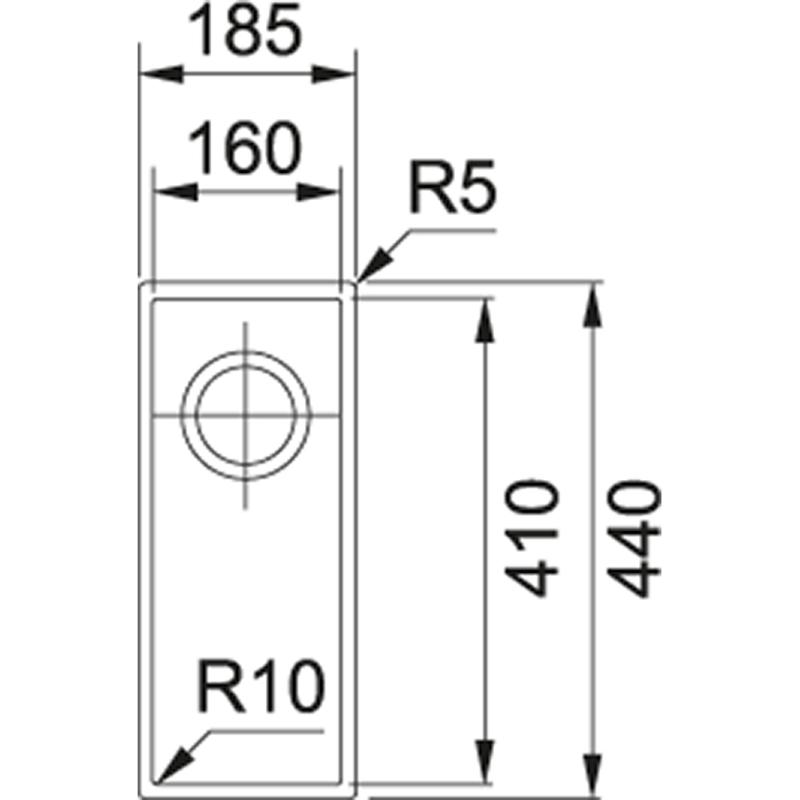
Ο νεροχύτης έχει ένα μόνο δοχείο και δεν διαθέτει χώρο αποστράγγισης, γεγονός που του προσδίδει ένα λιτό και μινιμαλιστικό σχεδιασμό. Το μήκος του νεροχύτη είναι 440 mm, με μήκος εσοχής 410 mm. Το πλάτος είναι 185 mm, με πλάτος εσοχής 160 mm. Το βάθος του νεροχύτη είναι 140 mm.

Ο νεροχύτης ανήκει στη σειρά Sirius 2 της Franke και είναι κατασκευασμένος από υψηλής ποιότητας πλαστικό. Είναι ανθεκτικός και αντέχει στην καθημερινή χρήση στην κουζίνα. Ο νεροχύτης έχει ορθογώνιο σχήμα με εσωτερική ακτίνα 10 mm και εξωτερική ακτίνα 5 mm.

Ο νεροχύτης τοποθετείται κάτω από τον πάγκο και έχει διάτρηση διαστάσεων 160x410 mm. Δεν υπάρχει οπή για τη βρύση, οπότε έχετε την ελευθερία να τοποθετήσετε τη βρύση όπου επιθυμείτε.

Το συνολικό πλάτος του νεροχύτη είναι 185 mm και το συνολικό μήκος είναι 440 mm. Με το συμπαγές του μέγεθος, αυτός ο νεροχύτης ταιριάζει τέλεια σε μικρές κουζίνες ή ως επιπλέον νεροχύτης σε μια μεγαλύτερη κουζίνα.

Εν ολίγοις, το Franke Sirius 2 S2D 110.16 είναι ένα πρακτικό και κομψό νεροχύτη από υψηλής ποιότητας πλαστικό, ιδανικό για υποστρώματα. Με το συμπαγές μέγεθος και το λιτό του σχεδιασμό, ταιριάζει σε κάθε κουζίνα.

Franke Sirius 2 S2D 110.16 πλαστικό μικρό λευκό νεροχύτη 16x41cm υποδομή 125.0252.233

- Υποδομή
- Μέγεθος ντουλάπας 30cm
- Διαστάσεις: 200 x 450 mm
- Μέγεθος νεροχύτη (mm): 160 x 410 x 140mm
- Βύσμα καλαθιού

Αυτός ο νεροχύτης παρέχεται χωρίς σφιγκτήρες στερέωσης.

Το Tectonite είναι ένα μοναδικό υλικό, αναπτυγμένο από την Franke για τον νεανικό καταναλωτή. Το Tectonite αποτελείται από SMC (sheet Mould Coating), γυαλί και PIMC (powder in mould Coating)
Το Tectonite είναι:
- Ανθεκτικό σε πρόσκρουση έως 60N
- Ανθεκτικό στην υπεριώδη ακτινοβολία και ανθεκτικό στην τριβή
- Ανθεκτικό σε υψηλές θερμοκρασίες έως και 300 βαθμούς
- Ανθεκτικό σε λεκέδες
- Ελαφρύ και δυνατό

Προδιαγραφές
Μάρκα Franke
Χρώμα Λευκό
Σειρά Sirius 2
Εκτέλεση Υποδομή
Υλικό Πλαστικό
Ελάχιστο μέγεθος ντουλάπας 30cm
Αριθμός κιβωτίων 1
Περιοχή στράγγισης Όχι
Μήκος 440mm
Εξοικονόμηση μήκους 410
Πλάτος 185mm
Εξοικονόμηση πλάτους 160
Βάθος 140mm
Αριθμός νιπτήρων 1
Κατηγορία προϊόντος Νεροχύτης
Χρώμα Νεροχύτης Λευκό
Υλικό Νεροχύτης Πλαστικό
Νεροχύτης Διάστασης Κάδου 160x410mm
Τρόπος εγκατάστασης Υποδομή
Βάθος νεροχύτη 140
Μέτρο εξοικονόμησης υποδομής 160x410mm
Νεροχύτης Οπή Βρύσης Κανένας
Εσωτερική ακτίνα νεροχύτη 10
Νεροχύτης σε εξωτερική ακτίνα 5
Σχήμα νεροχύτη Ορθογώνιο
Αυτόματη αδειάζουσα βύσμα καλαθιού Όχι
Συνολικό πλάτος νεροχύτη 185mm
Συνολικό μήκος νεροχύτη 440mm
Μοντέλο νεροχύτη 1 Νεροχύτης
Πληροφορίες παράδοσης
Η πληρωμή σας ύψους :amount έχει ληφθεί με επιτυχία!

Έχετε εγγραφεί με επιτυχία στο newsletter μας. Ως ευχαριστώ, θα λάβετε :amount έκπτωση στην πρώτη σας παραγγελία. Ελέγξτε τα εισερχόμενά σας για τον κωδικό έκπτωσης και μείνετε ενημερωμένοι για αποκλειστικές προσφορές, νέες συλλογές και έμπνευση!

Καλές αγορές!
Φροντίδα και συντήρηση νεροχύτη από σύνθετο υλικό ινών

Τακτικός καθαρισμός: Καθαρίζετε με ζεστό σαπουνόνερο και ένα μαλακό υγρό πανί μετά από κάθε χρήση.

Αποφύγετε τα άλατα: Στεγνώστε το νεροχύτη με μια πετσέτα μετά από κάθε χρήση, ειδικά σε περιοχές με σκληρό νερό.

Δύσκολες λεκέδες: Χρησιμοποιήστε ένα καθαριστικό χωρίς κόκκους που δεν θα γρατσουνίσει την επιφάνεια και στη συνέχεια ξεπλύνετε καλά.

Αποκατάσταση της επιφάνειας: Εφαρμόστε παραφινέλαιο κατάλληλο για τρόφιμα για να διορθώσετε μικρές φθορές στην επιφάνεια που προκαλούνται από την κανονική χρήση.

Ακραία θερμότητα: Μην τοποθετείτε αντικείμενα με θερμοκρασία μεγαλύτερη από 250 °C απευθείας πάνω στην επιφάνεια.

Αιχμηρά αντικείμενα: Μην χρησιμοποιείτε μαχαίρια ή αιχμηρά εργαλεία απευθείας πάνω στον νεροχύτη. Χρησιμοποιείτε πάντα ξύλο κοπής.

Δυνατά χημικά: Μην χρησιμοποιείτε ποτέ αποσμητικά, διαλυτικά, λειαντικά, λευκαντικά, οξέα ή ισχυρά απορρυπαντικά.

Στασιμότητα: Μην αφήνετε ουσίες, υπολείμματα τροφίμων ή νερό να παραμένουν στην επιφάνεια. Καθαρίζετε αμέσως.

Εναλλακτικές

Franke Sirius 2 S2D 110.16 πλαστικό μικρό λευκό νεροχύτη 16x41cm υποκατασκευή 125.0252.233 Franke Sirius 2 S2D 110.16 πλαστικό μικρό λευκό νεροχύτη 16x41cm υποκατασκευή 125.0252.233
Τρέχον προϊόν
Franke Sirius 2 S2D 110.16 πλαστικό μικρό λευκό νεροχύτη 16x41cm υποκατασκευή 125.0252.233
€ 158,41
GraniteMy Universal γρανιτένιος μικρός λευκός νεροχύτης 17x40 cm λευκός επάνω πάγκου, υποκατασκευή και επίπεδη εγκατάσταση με ανοξείδωτο ατσάλι βύσμα 1208966953
€ 210,17
Μάρκα
Franke
GraniteMy
Σειρά
Sirius 2
Πανεπιστημιακός
Εκτέλεση
Υποδομή
Επάνω πάγκου
Υλικό
Πλαστικό
Γρανίτης
Εξοικονόμηση μήκους
410
400
Πλάτος
185mm
210mm
Εξοικονόμηση πλάτους
160
170
Βάθος
140mm
130mm
Υλικό Νεροχύτης
Πλαστικό
Γρανίτης
Νεροχύτης Διάστασης Κάδου
160x410mm
170X400mm
Τρόπος εγκατάστασης
Υποδομή
Επάνω πάγκου
Βάθος νεροχύτη
140
130
Μέτρο εξοικονόμησης υποδομής
160x410mm
170X400mm
Νεροχύτης σε εξωτερική ακτίνα
5
3.5
Συνολικό πλάτος νεροχύτη
185mm
210mm

Πλεονεκτήματα και μειονεκτήματα

Σύμφωνα με τον κορυφαίο ειδικό μας

Ελαφρύ και εύκολο στην τοποθέτηση

Φθηνή εναλλακτική λύση για άλλους τύπους
Ζεστή και απαλή αίσθηση στην επιφάνεια
Απορροφά τον ήχο κατά τη χρήση

Λιγότερο ανθεκτικό στη θερμότητα από την κεραμική

Γρατζουνιέται πιο γρήγορα από ανοξείδωτο χάλυβα ή γρανίτη
Our top specialist

Αξεσουάρ

Νησίδα κουζίνας: Πλεονεκτήματα, μειονεκτήματα και συμβουλές σχεδιασμού

&Tau;&omicron; &nu;&eta;&sigma;ί &kappa;&omicron;&upsilon;&zeta;ί&nu;&alpha;&sigmaf; &epsilon;ί&nu;&alpha;&iota; &pi;&iota;&omicron; &delta;&eta;&mu;&omicron;&phi;&iota;&lambda;έ&sigmaf; &alpha;&pi;ό &pi;&omicron;&tau;έ &mdash; ό&chi;&iota; &mu;ό&nu;&omicron; &omega;&sigmaf; &epsilon;&pi;&iota;&pi;&lambda;έ&omicron;&nu; &pi;ά&gamma;&kappa;&omicron;&sigmaf; &epsilon;&rho;&gamma;&alpha;&sigma;ί&alpha;&sigmaf;, &alpha;&lambda;&lambda;ά &kappa;&alpha;&iota; &omega;&sigmaf; &sigma;&eta;&mu;&epsilon;ί&omicron; &sigma;&upsilon;&nu;ά&nu;&tau;&eta;&sigma;&eta;&sigmaf;. &Eta; &tau;&omicron;&pi;&omicron;&theta;έ&tau;&eta;&sigma;&eta; &nu;&epsilon;&rho;&omicron;&chi;ύ&tau;&eta; &sigma;&tau;&omicron; &nu;&eta;&sigma;ί &alpha;&pi;&omicron;&tau;&epsilon;&lambda;&epsilon;ί &mu;&iota;&alpha; &epsilon;&pi;&iota;&lambda;&omicron;&gamma;ή &pi;&omicron;&upsilon; &pi;&rho;&omicron;&kappa;&alpha;&lambda;&epsilon;ί &pi;&omicron;&lambda;&lambda;έ&sigmaf; &sigma;&upsilon;&zeta;&eta;&tau;ή&sigma;&epsilon;&iota;&sigmaf;: &pi;&rho;&alpha;&kappa;&tau;&iota;&kappa;ή &gamma;&iota;&alpha; &kappa;ά&pi;&omicron;&iota;&omicron;&upsilon;&sigmaf;, &sigma;&chi;&epsilon;&delta;&iota;&alpha;&sigma;&tau;&iota;&kappa;ό &delta;ί&lambda;&eta;&mu;&mu;&alpha; &gamma;&iota;&alpha; ά&lambda;&lambda;&omicron;&upsilon;&sigmaf;.

Έχετε επιχείρηση;

Αποκτήστε πρόσβαση σε αποκλειστικά B2B προνόμια!

Ζήτησε τον B2B λογαριασμό σου
€ 10 Έκπτωση
Γίνετε μέλος της κοινότητας Loriano για βελτιώσεις σπιτιού
Έτοιμοι να συνδεθείτε και να λάβετε αποκλειστικό περιεχόμενο; Το ενημερωτικό μας δελτίο προσφέρει ιδέες διακόσμησης, οδηγούς έργων, έγκαιρη πρόσβαση σε εκπτώσεις και πρώτες ματιές σε νέα προϊόντα. Εγγραφείτε τώρα και λάβετε άμεσα το κουπόνι καλωσορίσματος αξίας € 10!

Επιλέξτε τη χώρα σας:
Bank transfer Card Apple Pay Google Pay Pay By Bank
Loriano.gr | Copyright 2006 - 2026 | Με επιφύλαξη παντός δικαιώματος | Cookies